將藥物和適宜的拋射劑一起裝于具有特制閥門系統的耐壓密封容器中而制成的制劑稱為氣霧劑。按分散系統的不同,氣霧劑可分為溶液型、混懸型和乳劑型三大類。氣霧劑在使用時可借拋射劑的壓力將藥物定量或不定量地以霧狀形式噴出。
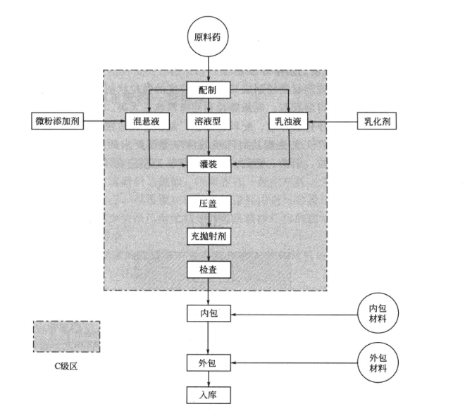
氣霧劑的主要生產工序包括稱量、配制、灌裝、壓蓋、充拋射劑、檢查、內包裝、外包裝和入庫等,其生產工藝流程及對環境的潔凈等級要求如圖1所示,其中稱量、配制、灌裝、壓蓋、充拋射劑、檢查等工序應在不低于C級的潔凈環境中進行。
一、稱量 嚴格按工藝操作規程的要求準確稱量。
二、配液

圖1
1、溶液型。將藥物和添加劑溶解于拋射劑中,制成澄清溶液即可。
2、混懸液型。將粉碎至5μm或10μm以下的藥物微粉均勻分散于拋射劑中,制成比較穩定的混懸液即可。
3、乳濁液型。將藥物、乳化劑、水或其他水性溶劑與拋射劑一起制成比較穩定的乳劑即可。
三、充填拋射劑充填拋射劑有壓力灌裝法(壓灌法)和冷凍灌裝法(冷灌法)兩種。
1、壓灌法。在室溫條件下,將配制好的藥液灌入容器內,裝上閥門并軋緊封帽,然后抽去容器內的空氣,再用壓裝機壓入定量的拋射劑。該法設備簡單,不需低溫操作,拋射劑損耗較少。但拋射劑需經閥門進入容器,因而生產速度較慢,且灌裝過程中的壓力變化較大,需采取相應的安全措施。
2、冷灌法。該法是借助于冷灌裝置中的熱交換器將藥液冷卻至-20℃,拋射劑冷卻至沸點以下至少5℃。先將冷卻的藥液灌入容器中,再加入冷卻的拋射劑,或將藥液與拋射劑同時灌入,然后裝上閥門并軋緊封帽。該法灌裝速度快,對閥門無影響,成品壓力穩定。但操作過程中拋射劑損耗較多。此外,由于需要制冷設備和低溫操作,故含水藥品不宜采用此法。
四、檢查
1、非定量氣霧劑應檢查噴射速率和噴出總量。
2、具有定量閥門的氣霧劑,應檢查每瓶的裝量、主藥含量、每瓶總撳次或每撳噴量或每撳主藥含量等項目。
3、對于混懸型氣霧劑應檢查噴霧藥物的粒度。